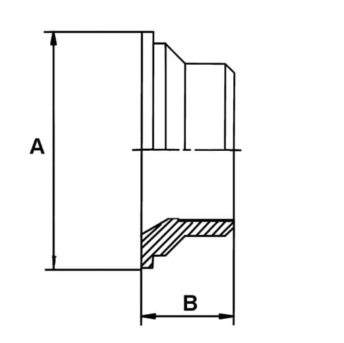
SMS svejsereduktion krave

Overfladeruhed indvendigt på R 0,8 µ og forsynet med batchnummer.
Udformet med krave til påsvejsning på rustfri mejerirør.

Fremstillet i rustfrit stål AISI 316L / EN 1.4404.

Varenummer Nominel dim.
mm.
A dia.
mm.
Længde B
mm.
Nettovægt
kg.
Basisenhed Antal
0101250380 38,0/25,0 55,0 30,0 0,050 STK
0101250510 51,0/25,0 65,0 32,0 0,060 STK
0101250511 51,0/38,0 65,0 38,0 0,060 STK
0101250640 63,5/38,0 80,0 42,0 0,090 STK
0101250641 63,5/51,0 80,0 42,0 0,090 STK
0101250760 76,1/51,0 93,0 44,0 0,130 STK
0101250761 76,1/63,5 93,0 44,0 0,130 STK
Forbehold for forkert produktdata, variationer i billeder/videoer, samt pris- og valutakursændringer.
Luk

Det tager kun 1 minut...

Luk
Log ind

Der opstod en fejl!

Opret nyt password

Der opstod en fejl!

Vi har sendt dig en e-mail med et link til at oprette dit nye password. Tjek også din spam-mappe, hvis du ikke kan finde den.