DIN svejsekrave til ISO rør

Overfladeruhed indvendigt på R 0,8 µ og forsynet med batchnummer.
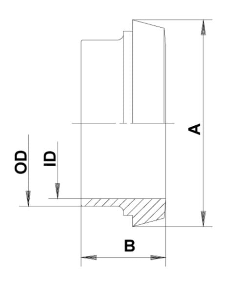
Udformet med krave til påsvejsning på rustfri mejerirør.

Fremstillet i rustfrit stål AISI 316L / EN 1.4404, ISO 2037. 

Standard DIN 11851.

Varenummer Nominel dim.
mm.
A dia.
mm.
ID Ø dia.
mm.
OD Ø dia.
mm.
Længde B
mm.
Nettovægt
kg.
Basisenhed Antal
0101350250 25,0 / 1" 44,0 22,6 25,6 22,0 0,100 STK
0101350400 40,0 / 1 1/2" 56,0 35,6 38,6 26,0 0,150 STK
0101350500 50,0 / 2" 68,0 48,6 51,6 28,0 0,210 STK
0101350650 65,0 / 2 1/2" 86,0 60,3 64,1 32,0 0,370 STK
0101350800 80,0 / 3" 100,0 72,9 76,7 37,0 0,340 STK
0101351000 100,0 / 4" 121,0 97,6 102,5 44,0 0,820 STK
Forbehold for forkert produktdata, variationer i billeder/videoer, samt pris- og valutakursændringer.
Luk

Det tager kun 1 minut...

Luk
Log ind

Der opstod en fejl!

Opret nyt password

Der opstod en fejl!

Vi har sendt dig en e-mail med et link til at oprette dit nye password. Tjek også din spam-mappe, hvis du ikke kan finde den.