DIN slutmuffe med tap & kæde

Udformet med noter til hagenøgler.
Leveres med tap og kæde.

Fremstillet i rustfrit stål AISI 304 / EN 1.4301.

Standard DIN 11851.

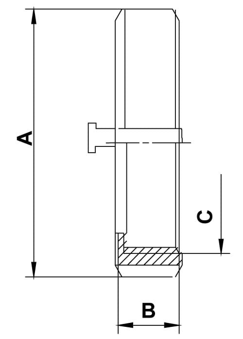
Varenummer Nominel dim.
mm.
A dia.
mm.
C dia.
mm.
Længde B
mm.
Nettovægt
kg.
Basisenhed Antal
0101360100 10 38,0 28,0 x 1/8 18,0 0,12 STK
0101360150 15 44,0 34,0 x 1/8 18,0 0,15 STK
0101360200 20 54,0 44,0 x 1/6 20,0 0,19 STK
0101360250 25,0 63,0 52,0 x 1/6" 21,0 0,130 STK
0101360320 32,0 70,0 58,0 x 1/6" 21,0 0,170 STK
0101360400 40,0 78,0 65,0 x 1/6" 21,0 0,220 STK
0101360500 50,0 92,0 78,0 x 1/6" 22,0 0,350 STK
0101360650 65,0 112,0 95,0 x 1/6" 25,0 0,670 STK
0101360800 80,0 127,0 110,0 x 1/4" 29,0 0,920 STK
0101361000 100,0 148,0 130,0 x 1/4" 31,0 1,340 STK
Forbehold for forkert produktdata, variationer i billeder/videoer, samt pris- og valutakursændringer.
Luk

Det tager kun 1 minut...

Luk
Log ind

Der opstod en fejl!

Opret nyt password

Der opstod en fejl!

Vi har sendt dig en e-mail med et link til at oprette dit nye password. Tjek også din spam-mappe, hvis du ikke kan finde den.