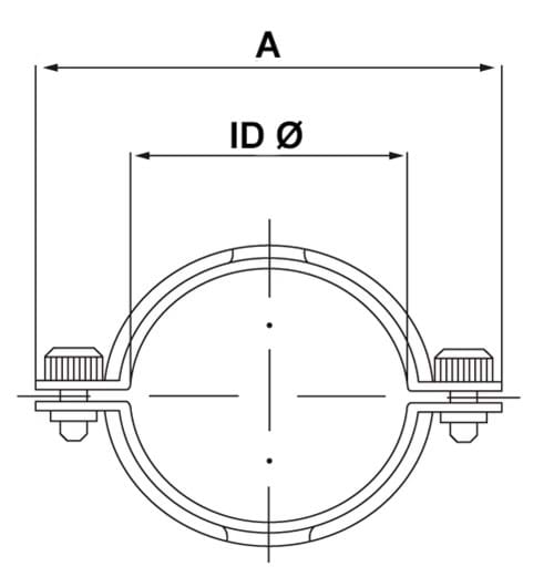
Rørbærer uden skaft, DIN

Leveres med sokkel og to unbraco skruer.

Fremstillet i rustfrit stål AISI 304 / EN 1.4301.

Varenummer Nominel dim. - DN Nominel dim.
mm.
ID Ø dia.
mm.
Bredde A
mm.
Nettovægt
kg.
Basisenhed Antal
0102050029 25 26,9-29,0 80,0 0,150 STK
0102050035 32 34,0-35,0 88,0 0,160 STK
0102050041 40 40,0-41,0 93,0 0,170 STK
0102050053 50 52,0-53,0 107,0 0,200 STK
0102050070 65 65,0 70,0-71,0 123,0 0,230 STK
0102050085 80 84,0-85,0 137,0 0,260 STK
0102050104 100 104,0-106,0 157,0 0,300 STK
Forbehold for forkert produktdata, variationer i billeder/videoer, samt pris- og valutakursændringer.
Luk

Det tager kun 1 minut...

Luk
Log ind

Der opstod en fejl!

Opret nyt password

Der opstod en fejl!

Vi har sendt dig en e-mail med et link til at oprette dit nye password. Tjek også din spam-mappe, hvis du ikke kan finde den.