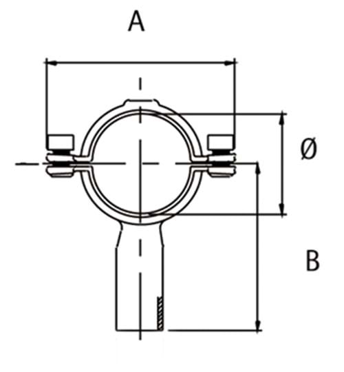
Rørbærer med skaft, Unbraco bolte

Rørbærer med skaft.
Leveres med svejsesokkel og to unbracoskruer.

Fremstillet i rustfrit stål AISI 304. 

Varenummer Nominel dim.
tomme
Bredde A
mm.
Længde B
mm.
ID Ø dia.
mm.
Skaft D dia.
mm.
Nettovægt
kg.
Basisenhed Antal
0102060010 1/8" 60,0 55,0 10,2 8,0 0,120 STK
0102060013 1/4" 62,0 57,0 13,5 8,0 0,130 STK
0102060017 3/8" 68,0 59,0 17,2 8,0 0,180 STK
0102060021 1/2" 72,0 90,0 21,3 21,3 0,210 STK
0102060027 3/4" 80,0 90,0 26,9 21,3 0,220 STK
0102060034 1" 87,0 90,0 33,7 21,3 0,230 STK
0102060042 1 1/4" 96,0 90,0 42,4 21,3 0,250 STK
0102060048 1 1/2" 101,0 90,0 48,3 21,3 0,260 STK
0102060060 2" 113,0 90,0 60,3 21,3 0,280 STK
0102060089 3" 143,0 90,0 88,9 21,3 0,330 STK
0102060114 4" 167,0 107,0 114,3 21,3 0,420 STK
0102060140 5" 193,0 120,0 139,7 21,3 0,450 STK
Forbehold for forkert produktdata, variationer i billeder/videoer, samt pris- og valutakursændringer.
Luk

Det tager kun 1 minut...

Luk
Log ind

Der opstod en fejl!

Opret nyt password

Der opstod en fejl!

Vi har sendt dig en e-mail med et link til at oprette dit nye password. Tjek også din spam-mappe, hvis du ikke kan finde den.